SparePartsFinder
GG

  • Usage list
  • Selected Items 1
[Reset]
  • Search


TXT RACING 280 2022 <2022><EU><F0303VI>
 Show Image Switch To Frame

@Nr@Name  
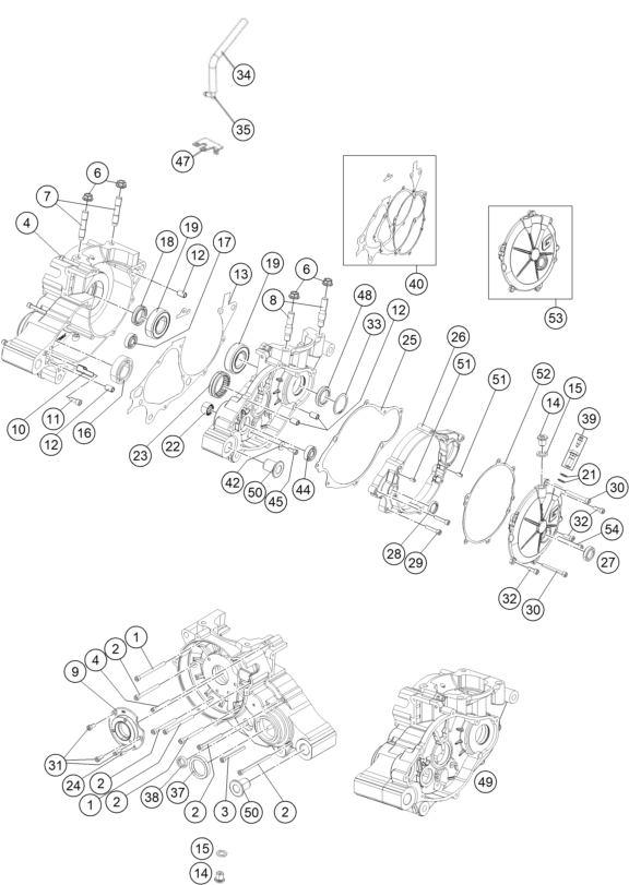
30ENGINE CASE
30CYLINDER
30CRANKSHAFT, PISTON
30REED VALVE CASE
31CARBURETOR
32CLUTCH
33TRANSMISSION
33KICK STARTER
34SHIFTING MECHANISM
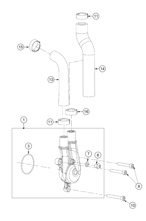
35WATER PUMP
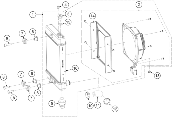
35COOLING SYSTEM
39IGNITION SYSTEM
TXT RACING 280                      2022


Imprint
Privacy policy

Build: 1.0.0.0    Date: 3/31/2026 11:37:08 AM