SparePartsFinder
GG

  • Usage list
  • Selected Items 1
[Reset]
  • Search


TXT RACING 125 2024 <2024><EU><F0103XG>
 Show Image Switch To Frame

@Nr@Name  
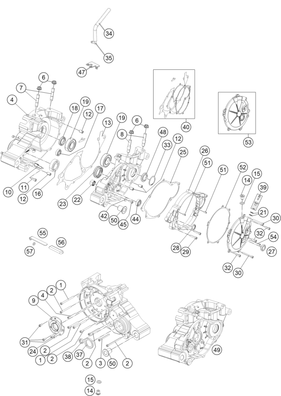
30ENGINE CASE
30CYLINDER
30CRANKSHAFT, PISTON
31CARBURETOR
32CLUTCH
33TRANSMISSION
33KICK STARTER
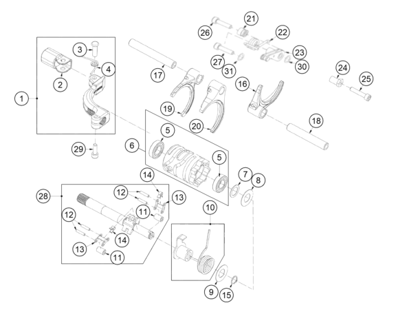
34SHIFTING MECHANISM
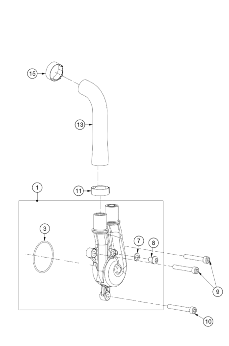
35WATER PUMP
35COOLING SYSTEM
39IGNITION SYSTEM
TXT RACING 125                      2024


Imprint
Privacy policy

Build: 1.0.0.0    Date: 3/31/2026 11:37:08 AM